
Articol publicat in cartea 25 SCHEME CU TRANZISTOARE
În ultima vreme, atît în rîndul radioamatorilor, cît şi în producţia industrială de radioreceptoare a căpătat o mare răspîndire tipul de receptor reflex.
În principiu, sistemul reflex constă în folosirea aceluiaşi tranzistor (în acelaşi timp) atît ca amplificator de radiofrecvenţă, cît şi ca amplificator de audiofrecvenţă. Acest sistem duce la economie de materiale, precum şi la obţinerea în cele din urmă a unui montaj cu calităţi superioare, sub un volum mic. Ar fi de reţinut însă faptul că tranzistorul care lucrează reflex trebuie să fie neapărat de tipul celor de radiofrecvenţă.
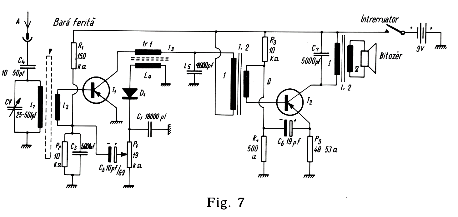
În figura 7 este dată schema de principiu a unui asemenea radioreceptor realizat cu două tranzistoare. Tranzistorul T1 va fi de tipul: EFT-108, EFT-317, SFT-107, OC-45, SB100, 152NV70, П401, П15, П14 etc., iar tranzistorul de audiofrecvenţă T2, de tipul: EFT-321, OC-71, П13A, etc. Dioda D1 va fi punctiformă, ca de exemplu: EFD-105, D2E etc.
Să ne oprim puţin asupra acestei scheme şi să vedem cum funcţionează. Semnalul de radiofrecvenţă cules de antena A cu de bara de ferită F, ajunge la circuitul acordat L1—Cv. De aici semnalul trece în înfăşurarea secundară L2, de unde de trimis apoi în baza tranzistorului T1, circuitul curentului de radiofrecvenţă închizîndu-se prin condensatorul C3.
Prin rezistentele R1 şi R2 se asigură polarizarea bazei lui T1, aşa fel ca prin circuitul de colector al acestui tranzistor să treacă un curent în jur de 1,5 mA.
Alimentarea colectorului tranzistorului T1 se face prin înfăşurarea primară a transformatorului de radiofrecvenţă, înseriată cu înfăşurarea primară a transformatorului de audiofrecventă Tr 2.
Semnalul de radiofrecvenţă amplificat de T1 se culege în undarul lui Tr 1. Din înfăşurarea L4 semnalul intră în dioda D1, unde are loc procesul detecţiei.
Audiofrecventa rezultată în urma detecţiei apare la borurile potentiometrului P1 cu valoarea maximă 10 kiloohmi, componentele de radiofrecvenţă sînt scurse la masă prin condensatorul C1.
De la cursorul potentiometrului P1, prin intermediul coundensatorului de cuplaj C2 audiofrecvenţa este introdusă în baza aceluiaşi tranzistor T1, care lucrează de astă dată ca amplificator de audiofrecventă. Rostul lui P1 în schemă de a permite reglarea audiţiei: cînd cursorul se va afla către capătul de sus, audiţia va fi maximă şi invers. În cazul cînd vrem să renunţăm la reglarea audiţiei, în locul lui P1 se va conecta o rezistenţă de 10 kiloohmi, iar C2 se va conecta la capătul de sus al acesteia.
După amplificare în T1 audiofrecventa, care trece cu uşurinţă prin L3, este culeasă în secundarul lui Tr 2. Mai departe, semnalul pătrunde în baza lui T2 montat ca simplu amplificator de audiofrecventă, lucrînd în clasa A. Sarcina tranzistorului T2 este un difuzor miniatură sau un difuzor de 0,25 W, de tipul celor de radioficare, cuplat prin intermediul transformatorului de ieşire Tr 3.
Ca parte practică, circuitul de intrare L1—L2 se poate realiza pe o bară de ferită sau pe o carcasă simplă. În primul caz se va folosi un baston de ferită lung de cca. 150 mm, cu diametrul de 10 mm.
Folosind o carcasă de hîrtie sau din plastic, vom bobina pentru L1, cu sîrmă de 0,25 mm cupru-emailat sau cu liţă de radiofrecvenţă, un număr de 60—70 spire (spiră lingă spiră), iar pentru L2, cu aceeaşi sîrmă, un număr de 5 spire. Bobi najul L2 se va executa peste bobinajul L1 în partea centrală. Pentru unde lungi L1 are 180 spire, iar L2 15 spire, folosindu-se sîrmă de 0,15 mm diametru.
În cazul utilizării unei carcase simple, se recomandă carcasă cu diametrul de 30 mm şi lungimea de 100 mm. Pe ea vom bobina, pentru unde medii (L1), un număr de 12 spire; L2 va avea 6 spire.
Transformatorul de radiofrecvenţă Tr 1 se va realiza pe un tor cu diametrul interior de 10 mm sau pe un miez de ferită sau ferocart tip „oală”.
Pentru L3 vom bobina un număr de 180—200 spire, iar pentru L4 100 spire; ambele bobinaje se vor realiza cu sîrmă de cupru emailat, de 0,1 mm diametru. Acest transformator trebuie să fie bine ecranat de restul pieselor, în care scop se va folosi un mic cilindru de alamă sau aluminiu, sau o cutiută confecţionată din acelaşi material. Pentru scoaterea conexiunilor se vor prevedea în pereţii cutiei mici orificii de trecere.
Transformatoarele Tr 2 şl Tr 3 se vor executa pe cîte ua pachet de tole silicioase, cu secţiunea minimă de 0,7 cm2. Tr 2 cuprinde în primar (I) un număr de 1 000 spire, iar în secundar 400 spire. Se va folosi sîrmă de 0,1 mm emailată.
Tr 3 necesită în primar (I) un număr de 600 spire din sîrmă de 0,1 mm diametru, iar în secundar 80 spire cu sîrmă de 0,3 mm.
Se pot folosi şi transformatoare miniatură, care de obicei se pot procura gata bobinate.
Înainte de fixarea montajului într-o cutie se recomandă experimentarea schemei pe un şasiu de lucru. Cu această ocazie constructorul îşi poate da seama de poziţia pieselor, de reglajele ce trebuie făcute etc. Astfel, se poate constata, că folosind Tr 1 neecranat sau slab ecranat, în momentul cînd îl apropiem de bara de ferită aparatul va începe să fluiere, cu alte cuvinte să intre în oscilaţie. Inversarea capetelor bobinajului L4 poate duce la dispariţia unor eventuale oscilaţii.
Pentru încadrarea posturilor în gamă este nevoie ca bobinajul L1—L2 să fie deplasat de-a lungul barei de ferită, în lunpul acestor reglaje este bine să avem conectată o antenă mică de circa 5 metri.
Montajul este foarte selectiv, iar seara poate recepţiona multe posturi în gama undelor medii.
Radioamatorii care nu dispun de o bară de ferită, pot să-şi confecţioneze această piesă, cu rezultate satisfăcătoare, folosind un număr de 10 miezuri cilindrice de ferită lipite cap la cap cu vopsea nitrocelulozică sau cu o soluţie de lipit înfăşurate în cîteva straturi de hîrtie.
Montajul poate fi realizat şi cu etaj de ieşire în contratimp. În acest caz Tr 2 va trebui să fie de tipul transformatoarelor defazoare, iar Tr 3 să aibă două înfăşurări primare. Rezultatele obţinute cu un montaj astfel realizat vor fi superioare doar în ce priveşte nivelul sonor al audiţiei.




