
Articol publicat in cartea 25 SCHEME CU TRANZISTOARE
Dacă receptorului din schema precedentă i se mai adaugă încă un tranzistor în etajul amplificator de audiofrecvenţă, se obţine un aparat mai puternic, cu audiţie mulţumitoare îu difuzor.
Practic, în locul căştilor va trebui să conectăm o rezistentă de 3 000 ohmi, iar de la colector, printr-un condensator electrolitic miniatură de 10 MF/9 volţi, să dirijăm semnalul de audiofrecvenţă la baza celui de al doilea tranzistor, montat ca amplificator. Se poate realiza însă şi o altă schemă, tot cu două tranzistoare, dar la care să avem şi posibilitatea reglării volumului audiţiei. O asemenea schemă este reprezentată în figura 2.
După ce semnalul radio este selectat de circuitul L2—C şi detectat în D1, se obţine la cursorul potenţiometrului P un curent de audiofrecvenţă. De aici, prin C2 (capacitate de 10 microfarazi, şi cu o tensiune de lucru de 3 sau 9 volţi) semnalul este condus la baza lui T1, care lucrează ca amplificator de audiofrecvenţă. Prin R1 se asigură polarizarea bazei tranzistorului. Dacă cursorul lui P1 se află în punctul c, atunc semnalul cules este diminuat. Potentiometrul P1 serveşte pentru reglarea amplificării de audiofrecvenţă. Din colectorul lui T1,prin C3, semnalul audio atacă baza celui de al doilea tranzistor. Prin R3—R4 se asigură polarizarea bazei. Sarcina lui T2 este transformatorul de ieşire Tr, în secundarul căruia se află conectat un difuzor de 0,25 W şi 4 ohm rezistenţă.
Dioda D1 folosită în montaj va fi aceeaşi ca şi pentru schema 1. Tranzistorul T1 va fi din tipul EFT-151, П13, П6, OC-70 etc., iar tranzistorul T2 de tipul EFT-121 EFT-321, OC-71, П13A, 25B176 etc.
Bobina se va realiza pe o carcasă cu diametrul de 8 mm prevăzută cu miez de ferită. Se vor bobina un număr de 21 spire pentru L1 cu sîrmă de 0,2 mm, izolată cu email (eventual şi cu mătase); L2 va avea 80 spire, cu aceeaşi sîrmă. Priza 2 se va scoate aşa fel ca între 1—2 să avem 30 spire iar între 2—3 50 spire.
Bobina se poate realiza şi pe o carcasă fără miez, cum a fi de exemplu carcasa cu diametrul de 30 mm. În acest caz pentru L1 vom bobina 20 spire cu sîrmă de 0,15 mm, iar pentru L2 120 spire cu sîrrnă de 0,3 mm, emailată. Priza 2 se va scoate în aşa fel ca între 1—2 să avem 40 spire.
Drept transformator de ieşire se va folosi unul de la difuzoarele de radioficare. El poate fi construit şi de amator în care caz va trebui să folosim un pachet de tole E + I cu secţiunea minimă de 0,5 cm2. Înfăşurarea primară va avea 1 000 spire, realizată cu sîrmă de cupru emailat de 0,1 mm diametru, iar cea secundară un număr de 100 spire din sîrmă de 0,2—0,3 mm diametru.
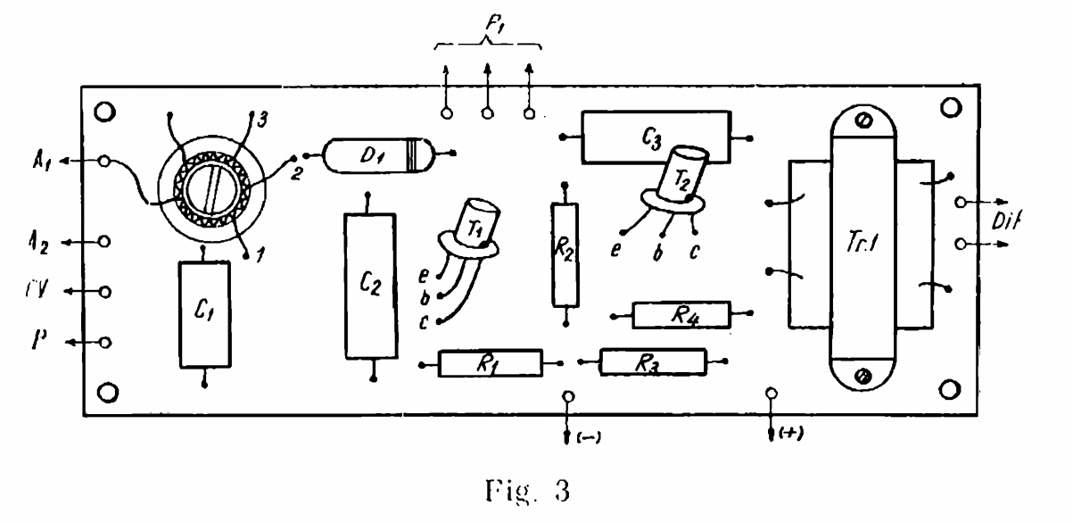
Întreg montajul poate fi construit pe o plăcuţă. (110 X 40 mm) de material izolant, gros de 3 mm, dispunerea pieselor putîndu-se face aşa cum se arată în figura 3. La lindul său, montajul poate fi introdus în cutia unui difuzor din radioficare sau într-o cutie construită de amator.
Montajul poate fi realizat însă şi pe o plăcuţă cu cablaj imprimat, terminalele (capetele de legătură) fiecărui condensator sau rezistenţă introducîndu-se în orificiile practicate special.

Pentru a realiza un asemenea montaj avem nevoie de o suprafaţă de material denumit tehnic „stratificat placat cu nipru” şi care nu este altceva decît o placă de material izolant, peste care este lipită cu ajutorul unui adeziv o foiţă de cupru. Placa izolatoare este de obicei pertinax gros de cca. 2 mm, iar foiţa de cupru are o grosime medie de 0,04 mm. Adezivul cu ajutorul căruia se realizează lipirea cuprului pe suport este pe bază de răşini epoxidice, cauciuc sintetic etc.
Fabricile constructoare de asemenea stratificate placate cu cupru pun în vînzare foi cu suprafaţa de 900 X 900 mm sau de 900 X 1 800 mm, din care, cu ajutorul unor ferăstraie mecanice speciale sau cu ajutorul traforajului se taie suprafeţele necesare.
Care este principiul de obţinere a cablajului imprimat?
Să considerăm că avem o suprafaţă dintr-un astfel de material placat cu cupru şi-1 introducem într-o soluţie slabă de acid sulfuric sau de clorură ferică. Cu ajutorul unei vergele de sticlă agităm în permanenţă plăcuţa în baia cu soluţie, timp de 10—15 minute. Ce vom constata? Toată suprafaţa de cupru va dispare, metalul fiind corodat de soluţia acidă.
Ce vom obţine dacă înainte de a introduce plăcuta în baia cu acid vom trasa cu vopsea, pe partea unde se află cuprul, cîteva linii? Rezultatul este următorul: porţiuni care au fost acoperite cu vopsea vor rămîne necorodate, restul metalului din jur fiind înlăturat. Tocmai pe acest principii se bazează obţinerea cablajului imprimat.
Să urmărim în continuare modul cum trebuie să procedeze radioamatorul pentru a-şi realiza singur montajul cu cablaj imprimat. Pentru exemplificare vom considera schema receptorului cu două tranzistoare din figura 2. Mai întîi procurăm toate piesele necesare realizării montajului. Se va urmări ca acestea să fie cît mai mici posibil, adică să fie de tipul miniatură. De asemenea, vom procura o suprafaţă de stratificat placat cu cupru de 110 X 40 mm.
Pe o foaie de hîrtie milimetrică vom desena cu creionul un dreptunghi de aceleaşi dimensiuni. Cu schema de principiu în fată vom aşeza pe hîrtia milimetrică piesă cu piesă aşa fel ca punctele care trebuie conectate să fie cît mai apropiate între ele. Firele condensatoarelor, tranzistoarelor etc, care se plantează, vor înţepa hîrtia milimetrică în locul unde se aşază. Ordinea de aşezare a pieselor este cea din schemă, ca şi cum s-ar urmări funcţionarea montajului. În acelaşi timp cu aşezarea (plantarea) pieselor, se desenează cu un creion, sub forma unor linii groase de circa 2 mm, reţeaua cablajului, şi care reprezintă capetele pieselor ce trebuie puse în contact. În final vom obţine un desen ca cel din figura 4 a. Acesta este însă ajutător, deoarece trebuie contrapus pe suprafaţa de cupru a plăcutei. În acelaşi timp se va avea în vedere ca desenul să apară pe plăcută invers ca şi cum l-am privi în zare, însă pe partea nedesenată.
Pentru a realiza acest lucru, vom proceda în felul următor: se aşază desenul din figura 4 a pe geamul unei ferestre luminate, cu partea desenată în contact cu geamul. Peste el se pune o foaie de calc, eventual se lipeşte în cele patru colţuri cu gumă arabică. Datorită transparenţei vom putea desena pe foaia de calc conturul reţelei cablajului, cît şi conturul dreptunghiului de 110 X 40 mm. În continuare va trebui să copiem desenul de pe calc pe suprafaţa cupruită a plăcuţei de montaj.

Pentru aceasta se aşază o foaie de indigo pe suprafaţa de cupru, iar peste ea hîrtia de calc, avînd grijă ca cele două dreptunghiuri (cel de pe calc şi cel al plăcuţei) să se suprapună cît mai perfect. Cu un creion bine ascuţit vom urmări contururile reţelei cablajului de pe calc, aşa fel ca acesta să imprime, prin intermediul indigoului, pe foiţa de cupru.
După executarea acestei operaţii vom umple cu vopsea, ulei sau nitrolac toate contururile de pe suprafaţa foiţei de cupru, obţinîndu-se în final un desen ca cel din figura 4 b. Vopseaua va fi dispusă cu ajutorul unei pensule de mici dimensiuni. După uscarea vopselei, plăcuţa se leagă cu un fir de nailon, după care se introduce într-un borcan cu acid, preparat bineînţeles mai înainte. Acţionînd firul de legatură, vom agita mereu plăcuţa în acid pînă cînd întreaga suprafaţă nevopsită va fi corodată. Temperatura soluţiei acide trebuie să fie de 30°C.
După ce corodarea a fost terminată, pentru îndepărtare soluţiei acide, plăcuţa se introduce într-un borcan care conţine carbonat de sodiu, unde de asemenea va fi agitată timp de cîteva minute.
În continuare plăcuţa va fi ţinută sub robinet într-un curent de apă timp de 4—5 minute.
Plăcuţa astfel pregătită se şterge bine cu o cîrpă de bumbac, după care este observată atent dacă n-au rămas cumva porţiuni fine de cupru încă neîndepărtat. În cazul că se observă asemenea urme, ele vor fi îndepărtate cu un vîrf de briceag.
Îndepărtarea vopselei ce acoperă placa se face cu un tampon cu benzină sau cu acetonă, funcţie de vopseaua folosită.
Odată această operaţie terminată, vom putea privi reţeaua de cablaj formată din fîşiile de cupru rămase necordate, care arată ca în figura 4 b. În continuare, cu ajutorl unui burghiu de 0,8—1 mm, vom executa toate găurile 1a care vor fi introduse piesele (rezistenţele, condensatoare etc.).
Urmărind dispunerea făcută iniţial în figura 4 a, se plantează cîte o piesă, ce va fi consolidată pe loc, prin lipire cu cositor. Pentru conectarea celorlalte piese de plăcuţa cu cablu imprimat, în punctele notate A1, A2, a, b etc. vom lipi cu cablaj cîte o sîrmă de cupru groasă de 1 mm şi înaltă de 10 mm. De această sîrmă vorn conecta prin fire flexibile piesele în cauză. Placa se va prinde la rîndul ei de cutia aparatului cu ajutorul a patru şuruburi M3 şi a unor distanţori, folosindu-se pentru aceasta găurile practicate în colţuri.




