
Articol publicat in cartea 25 SCHEME CU TRANZISTOARE
În radiotehnică prin reacţie se înţelege întoarcerea semnalului de la ieşirea unui amplificator către intrarea lui. Dacă semnalul întors este în fază (se adună) cu semnalul iniţial aplicat la intrare, atunci avem de-a face cu aşa-numita reacţie pozitivă, iar dacă semnalul este introdus în antifază (se scade), avem de-a face cu reacţia negativă.
Primul tip de reacţie, cea pozitivă, dacă depăşeşte un anumit prag, poate face ca sistemul să intre în oscilaţie; la randul ei reacţia negativă împinsă peste o anumită limită poate face ca sistemul respectiv să înceteze a mai funcţiona.
În cele de faţă ne vorn ocupa de un montaj în care este folosită reacţia pozitivă. Este vorba de un receptor cu un tranzistor, cu audiţie în cască, destinat lucrului în gama undelor medii.
Prin introducerea reacţiei pozitive la un astfel de montaj vom obţine o îmbunătăţire vizibilă a sensibilităţii şi a selectivităţii recepţiei. Schema de principiu este dată în figura 5. Aparatul funcţionează în felul următor: semnalele utile de radiofrecventă, culese de antenă, sînt selectate funcţie de poziţia lui Cv.
De la bornele lui C3 semnalele selectate sînt conduse la baza tranzistorului T1 unde are loc procesul de detecţie, semnalele audio fiind ascultate în perechea de căşti din circuitul colectorului. O parte din semnalele de radiofrecvenţă care apar la ieşirea din tranzistor sînt scurse la masă prin C4, iar altă parte conduse prin C2 la intrarea în tranzistor, prin intermediul bobinei L1 (semnalele de reacţie). Dacă aceste semnale de reacţie sînt destul de mari, atunci aparatul va începe să oscileze (acroşaj), lucru ce poate fi constatat prin apariţia unor fluierături în căşti. Recepţii semnalelor radio trebuie să aibă loc într-un punct de funcţionare sub limita de acroşaj; acest punct se obţine prin modificarea rezistenţei din circuitul emitorului, cu ajutorul potentiometrului P1 de 5 k Q.
Semnalele radio sînt detectate de tranzistorul T1, iar cele de audiofrecvenţă se ascultă în căşti. Componentele de radiofrecvenţă sînt scurse la masă prin C4.
Polarizarea bazei este asigurată de grupul R1 — R2.
Tensiunea de alimentare recomandată este cea de 4,5 V, consumul de curent fiind de maximum 2 m A.
Tranzistorul folosit va fi de tipul celor de radiofrecvenţă ca: EFT-107, EFT-108, EFT-317, OC-45, SB-100, 2SA102, П13, П14, П15 etc.
Inductanta L1 poate fi realizată pe o carcasă de 30 mm diametru, bobinînd un număr de 120 spire, cu sîrmă de cupri emailat de 0,3 mm. Se poate folosi şi o bobină cu miez de ferocart, în care caz vom bobina un număr de 60—70 spire cu sîrmă de 0,2 mm sau cu liţă de radiofrecvenţă.
Radioreceptorul va fi construit pe o plăcuţă de material izolant sau pe placaj. Dimensiunile şi forma cutiei aparatului se vor alege în funcţie de piesele folosite.
Condensatorul Cv va fi de tipul celor cu aer sau, mai bine, un condensator miniatură.
Dacă radioconstructorul nu dispune de un condensator cu aer de 500 pF cu o singură secţiune, poate folosi un condensator de 2 x 500 pF, legînd în schemă un singur element. Condensatorul C2 este un trimer cu valoare maximă de 30 pF. Această piesă poate fi însă confecţionată prin bobinarea unei sîrme emailate de 0,15—0,2 mm diametru pe o altă sîrmă izolată cu email, dar de 1—1,5 mm diametru, se va bobina un număr de spire, care va cuprinde o lungime a stratului astfel format de cca. 25 mm. Un capăt al sîrrnei cu diametru mare va constitui o armătură a condensatorului, iar un capăt al sîrmei subţiri cealaltă armătură. Reglajul acestui tip de trimer se face din micşorarea sau mărimea numărului de spire.
Reglajul receptorului constă în stabilirea pragului de oscilaţie, în aşa fel ca acesta să aibă loc atunci cînd cursorul potenţiometrului se află către capătul de sus. Practic, se deplasează potenţiometrul în această poziţie, cu antena cuplată, se roteşte Cv pînă este prins un post oarecare şi se măreşte C2 pînă în momentul apariţiei fluierăturilor; deplasînd apoi potenţiometrul în sensul măririi rezistenţei din emitor, va trebui ca acroşajul să dispară, iar emisiunea să aibă loc în bune condiţii.
Cînd recepţia se face în apropierea unei staţii de radiodifuziune, iar emisiunile acesteia se întind pe o plajă mai mare va trebui ca în locul lui C1 de 100 pF să conectăm un condensator de 50 pF sau chiar mai mic. Pentru o mai comodă folosire, acest condensator de valoare mai mică poate fi cuplat la o bornă separată.
Folosind o antenă exterioară de 10—15 m şi o bună priză de pămînt, aparatul recepţionează seara un număr mare de staţii europene. Ziua el recepţionează numai staţiile locale, aceasta însă datorită condiţiilor de propagare. Cu puţin antrenament, cel ce foloseşte un astfel de aparat va putea să stabilească cu uşurinţă punctul optim de funcţionare, adică sesizarea pragului de intrare în oscilaţie.

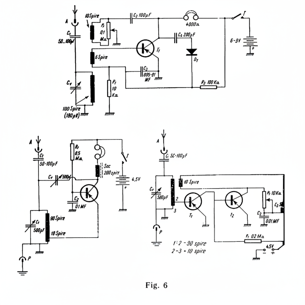
Pentru o mai amplă documentare şi experimentare în domeniul receptoarelor cu reacţie, prezentăm în figura 6 trei variante de scheme cu reacţie. Tranzistorul folosit la aceste scheme poate fi oricare din cele indicate pentru schema anterioară. De asemenea, bobinele se vor realiza după aceleaşi indicaţii.
Pentru audiţii în difuzor, montajul este eficace doar în cazul posturilor aflate la maximum 50 km depărtare de punctul de recepţie; în acest scop în locul căştilor se va conecla un difuzor de radioficare, împreună cu transformatorul său.
Rezultate bune în ceea ce priveşte audiţia în difuzor a staţiilor mai îndepărtate se obţin dacă se mai adaugă montajului un amplificator de audiofrecvenţă.




